
-
生物通官微
陪你抓住生命科技
跳动的脉搏
综述:静水压力快速变化作为探针关联纯化蛋白功能与活细胞活性的研究
【字体: 大 中 小 】 时间:2025年07月16日 来源:Biophysical Reviews 4.9
编辑推荐:
(编辑推荐)这篇前瞻性综述系统阐述了中等静水压力(HP,100-200 atm)作为非侵入性工具在分子细胞生物学中的独特价值。通过压力扰动(pressure perturbation)可逆调控蛋白质折叠(ΔV°=-40至-100 ml/mole)、微管动态(ΔV°=-26至-50 ml/mole)及信号通路,其毫秒级响应速度(≈0.1 ms)与活细胞荧光成像兼容,为关联体外分子机制与细胞功能提供了"分子压力钳"(molecular pressure clamp)新范式。
生物物理学与细胞生物学的交叉领域面临核心挑战:如何直接关联分子事件与细胞行为。静水压力(HP)因其独特物理特性成为理想工具——100-200 atm中等压力可逆扰动蛋白质构象(ΔV°≈10 cm3/mol)而不损伤细胞活力,这相当于鲸类在1000米深海的生存压力(10 MPa)。相比之下,人类自由潜水极限仅达10 atm,而深海嗜压菌(piezophiles)甚至能在1000 atm(100 MPa)下存活。
压力通过改变水合层结构调控分子平衡。根据勒夏特列原理,HP促使体积减小的反应方向占优:ΔK/K = -ΔV°ΔP/RT。典型实例是乙酸电离(ΔV°=+10 ml/mol),100 atm压力仅引起4%平衡常数变化(ΔK/K=0.04)。蛋白质去折叠(如肌红蛋白ΔV°=-100 ml/mol)或微管组装(ΔV°=-50 ml/mol)对压力更敏感,而水本身压缩率仅0.46%(10 MPa时)。
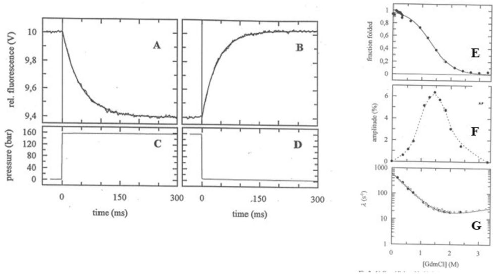
Pearson等设计的压力跳跃装置(pressure-jump apparatus)采用蓝宝石样品池(50 μl)和压电晶体驱动(200 atm/0.1 ms),可进行毫秒级荧光检测。如图1所示,160 atm压力阶跃使冷休克蛋白(CSP)色氨酸荧光在40 ms内降低6%,完全可逆且 relaxation time(λ)与压力方向无关。该技术最大优势在于仅扰动平衡态附近体系(如[F]=[UF]时信号最强),避免过度干扰天然结构。

图2展示肌球蛋白S1与mant-ADP结合的经典案例。6 MPa压力阶跃引发0.2-2%荧光变化,通过τ-1 = ([M]+[mant-ADP])kon+koff方程可精确解离速率常数。值得注意的是,振幅在Kd≈0.2 μM时最大,这与理论预测完全吻合。

在去膜肌纤维实验中(图3),10 MPa压力使钙激活张力降低10%,并揭示双相动力学:快相(τ-1≈5 s-1)反映肌球蛋白动力冲程,慢相(τ-1与[Ca2+]相关)对应肌钙蛋白C(TnC)钙解离。这种分层解析能力是HP技术的独特优势。

0.5 mm薄盖玻片(图4)使100 atm活细胞成像分辨率达282 nm(水镜NA=1.1)。该技术已揭示:
100 atm可逆阻滞酵母胞质分裂
800 atm诱导E.coli鞭毛马达转向
压力敏感型YFP探针(Watanabe et al, 2013)

未来方向包括:
开发≤50 atm超低压扰动系统
结合压力敏感突变体(如SOD1突变酵母)
拓展至肿瘤压力信号(TORC通路)研究
这种"分子压力钳"技术将为细胞动力学研究开辟新维度。
生物通微信公众号
知名企业招聘